最新資訊
了解DSJet最新資訊
BMS電池管理系統干冰清洗效果很不錯
2022-05-20
電池管理系統俗稱電池保姆或電池管家,是車載動力電池與電動汽車之間的重要紐帶。其主要功能包括:實時監測電池物理參數;電池狀態估計;在線診斷和預警;充電、放電和預充電控制;平
干冰清洗工業鍋爐效果很不錯
2022-05-12
近年來,由于能源的短缺,隨著各地小機組向大中型機組的不斷更新,機組滿負荷、重負荷運行的概率增大,節能問題變得尤為突出。鍋爐水冷壁管積灰問題雖然不影響正常的蒸汽參數和蒸
火力發電干冰清洗機保證發電效率
2022-05-10
火力發電廠基建單位為了去除鍋爐設備制造過程中形成的氧化物,在儲存、運輸和安裝過程中會產生腐蝕產物、焊渣和防腐劑等附著物。同時清除制造和安裝過程中進入和殘留在設備
干冰清洗的原理和干冰清洗 的過程
2022-04-28
干冰干冰是二氧化碳 (CO2) 的固體形式,是一種白色、冰狀、無味的固體。在常壓下,干冰升華至-79°C,即它直接轉化為氣相而無需事先融化。由于二氧化碳的三相點 P t 在 T t =
迪史潔生產各種規格干冰,免費送貨上門
2022-04-24
DSJet迪士杰專業生產冷卻冰塊、工業冰塊、食用冰塊、干冰等不同規格的冰塊。向主要企業供貨公司擁有多輛專業送冰車,就近送貨快捷、方便、及時。驗證了優質冰塊的承諾,多年來
干冰清洗技術領域的應用
2022-04-22
干冰是什么?干冰是由液態二氧化碳(CO2)構成的。在所謂的造粒機中,液態二氧化碳在大氣壓下減壓。這個物理過程產生干冰和干雪。冰雪被擠壓板壓成圓形堅硬的干冰顆粒(直徑3毫米
配電柜使用干冰清洗效果在線清洗效果很好
2022-04-21
各種大型設備一般都配有電柜,很多地方都可以看到。電氣柜的主要作用是穩定電壓,對生產運行非常重要。另外,電控柜使用時間長了會產生靜電,導致上面有灰塵殘留,影響電控柜的運行
干冰的實際作用和干冰清洗機使用的好處有哪些?
2022-04-20
干冰的升華點為-78.5℃,蓄冷量是冰的兩倍,蓄冷效果比冰好很多。重要的是,隨著溫度的升高,干冰不會像冰一樣變成水,它會無處不在。只會升華成氣體,沒有殘留和污染。而且干冰體積小
選擇干冰清洗機進行表面清洗更為環保
2022-04-19
在日益嚴苛的環保要求下,傳統的超聲波、化學藥劑、高壓射流、噴砂等清洗方法逐步淘汰。干冰清洗作為一種高效、清潔、無殘留的全新清潔方法,正在變為傳統清洗作業的替代工藝,
干冰清洗物體表面的爆破原理是什么?
2022-04-18
它是一種干冰清洗機清洗機,干冰清洗法在世界范圍內發展迅速。在清洗系統中,干冰清洗機的干冰顆粒被高壓空氣噴射到待清洗的工作面上,利用溫差的物理反映,以不同的收縮率分離不
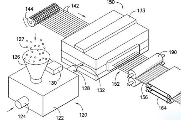
干冰清洗連續纖維增強熱塑性預浸帶生產線效果怎么樣?
2022-04-15
連續纖維增強熱塑性預浸帶纏繞增強管充分利用了玻璃纖維的強度、耐熱性和經濟性,是目前復合塑料管中最經濟、使用壽命最好的管材,使管材具有耐高溫、耐高壓、耐磨的性能,解決了
干冰清洗模具的效果展示
2022-04-14
隨著經濟的快速發展,產品的數量和形狀發生變化,對產品技術的要求也越來越高。對于一些注塑產品,成型需要模具。因為高溫操作,脫模劑會殘留在模具型腔內,會在模具表面產生條痕和



